意昂体育

密封圈

产品分类

热门关键词

联系意昂体育


  东莞市意昂体育 科技有限公司
  手机:13450082237
  电话:0769-22210391
  传真:0769-22217692

       网址:www.658bxw.com

  邮箱:13450082237@163.com
  地址:广东省东莞市东城街道桑园社区银贵路6号

OMK-5活塞密封

您的当前位置: 首 页 > 产品展示 > 孔用密封(活塞密封) > OMK-5活塞密封

OMK-5活塞密封

详细介绍

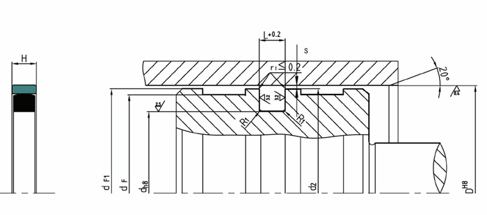
OMK-5活塞密封-OMK-S重载格莱圈 Merkel

1.OMK-5活塞密封标准材料

密封环:填充聚四氟乙烯F-PTFE

0形圈:丁腈橡胶NBR

OMK-5活塞密封-OMK-S重载格莱圈 Merkel.jpg

2.应用范围

由一个PTFE矩形截面滑环和一个作为加载元件的矩形圈组成的双组合密封圈。此种型式的同轴密封,主要用于重型机械或冶金设备的液压缸活塞密封系统。如:液压机、注塑机等。设计选用时可参考Merkel公司OMK-S产品标准。

 

3.特性及优点

1.高的耐摩损性

2.抗间隙挤出的能力强

3.高耐压特性

4.低摩擦,不会造成“液压爬行”。

5.采用防扭曲设计,工作性能稳定。

6.橡胶的弹性具有高的接触压力,抗压效果好。

OMK-S (2) - 副本.jpg

相关标签:OMK-5活塞密封

上一篇:格来圈
下一篇:YXD活塞密封

东莞市意昂体育
科技有限公司

contact us

东莞市意昂体育 科技有限公司

东莞市意昂体育 科技有限公司

全国服务热线:0769-22210391

手机(Tel):13450082237

传真(Fax):0769-22217692

网址:658bxw.com

地址(Add):广东省东莞市东城街道桑园社区银贵路6号

service

0769-22210391分机802

服务热线


技术支持:技术支持:  |  主营区域: 备案号:
在线客服
二维码

扫描二维码

分享