东莞市意昂体育
科技有限公司
手机:13450082237
电话:0769-22210391
传真:0769-22217692
网址:www.658bxw.com
邮箱:13450082237@163.com
地址:广东省东莞市东城街道桑园社区银贵路6号
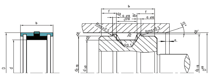
1.GKDF组合密封标准材料
导向环:尼龙PA或填充聚四氟乙烯F-PTFE
密封环:填充聚四氟乙烯F-PTFE
弹性圈:丁腈橡胶NBR或氟橡胶FKM

2.应用范围
由密封环、弹性圈和二个导向套组成,导向套起定位和导向作用,弹性圈提供预紧力并补偿密封环的磨损,密封环与油缸内孔形成配合对偶面而产生密封效果,适用于油缸活塞的密封。DKDF具有双向密封效果。
设计选用时可参考Hunger洪格尔公司GKD系列标准。
